一种垃圾污染土壤中微塑料的微生物修复方法等五项成果推介(预披露)
一种垃圾污染土壤中微塑料的微生物修复方法等五项成果推介
项目一:一种垃圾污染土壤中微塑料的微生物修复方法
成果基本信息 | 成果名称 | 一种垃圾污染土壤中微塑料的微生物修复方法 |
成果权利人 | 贵州省生物研究所、贵州大学 | |
发明人 | 蒋娟 | 龙云川 | 王龙燕 | 胡菁 | 周少奇 | |
国民经济分类 | 环境保护专用设备制造 | |
交易方式 | 面议 |
(一)背景技术
随着经济的快速发展,塑料及其制品的广泛使用使得塑料垃圾占比增高。而塑料因其难分解、回收率低等特点导致了严重的环境污染问题,尤其在垃圾污染土壤中。塑料的自然分解,以及不当的处理方式会产生一类新兴污染物——微塑料,目前广泛分布在各类水土环境中。微塑料通常指的是粒径小于5mm的塑料微粒,具有疏水性、持久性和难降解性,很难从土壤中回收获取。目前对塑料垃圾的处理大多采用填埋、焚烧、再加工等,但处理成本高,且会对环境产生二次污染。相比之下,微生物降解处理技术安全且对环境友好,其关键核心在于微生物降解菌株的选择。
对于微塑料去除或修复的方法尚浅,更多集中在水环境中,主要包括生物降解、物理絮凝等,但存在处理周期长、吸附效率低等问题。微塑料具有可迁移性,可随水流动,在土壤中富集,也可被动植物摄取,严重威胁生态环境和人类健康。单纯施加塑料降解菌群会增加土壤中微塑料的含量,加重微塑料污染。因此,探究一种兼具塑料降解和微塑料去除的原位土壤修复技术具有重要意义。
(二)成果简介
本发明公开了一种垃圾污染土壤中微塑料的微生物修复方法,属于垃圾污染土壤原位修复技术领域。上述方法包括:(1)用液体培养基扩大培养垃圾污染场地中塑料表面的微生物,将得到的菌液转接于选择性无机盐培养基中富集培养,富集得到具有塑料降解能力的功能菌群;(2)将菌悬液与生物质炭混合吸附,冷冻、干燥,得到微生物固定化生物质炭;(3)向羧甲基纤维素和海藻酸钠的混合溶液中添加所述微生物固定化生物质炭,搅拌均匀,再滴加至氯化钙溶液中交联反应,获取生物质炭基微生物固定化颗粒;(4)将所述生物炭基微生物固定化颗粒添加至垃圾污染土壤中,对垃圾污染土壤进行原位修复。本发明解决了垃圾污染土壤中塑料的难降解以及微塑料的迁移去除问题。
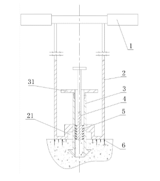
(三)附图
本发明以生物质炭为载体,将从塑料垃圾表面筛选得到的降解塑料能力强的微生物菌群通过吸附固定至生物质炭上,再通过包埋交联作用获得生物质炭基微生物固定化颗粒,将其应用于垃圾污染土壤的原位修复,其技术路线图见上图。
项目二:一种实验操作台通风装置
成果基本信息 | 成果名称 | 一种实验操作台通风装置 |
成果权利人 | 贵州省中国科学院天然产物化学重点实验室(贵州医科大学天然产物化学重点实验室) | |
发明人 | 周美 | 王道平 | 陈金宏 | 梁光焰 | 王瑜 | |
国民经济分类 | 其他仪器仪表制造业 | |
交易方式 | 面议 |
(一)背景技术
实验操作台是化学或物理实验室中的一种常用设备,是进行化学或物理实验不可或缺的辅助设备之一。目前,化学或物理实验操作台一般都没有安装通风装置,而实验中往往会产生大量的有毒有害气体,如:中药飞扬草、瓦松、大枣、山茱萸的薄层鉴别用到的剧毒试剂甲苯;天仙子中莨菪碱和东莨菪碱的含量测定中用到的四氢呋喃、冰醋酸,铁皮石斛中甘露糖的含量测定用到的氯仿;黄芪中黄芪甲苷的含量测定用到的氨水、正丁醇;硫酸-苯酚法测黄精多糖时用到的苯酚;测硫酸中氮氧化合物时用到的盐酸。这些实验中用到的大多是毒性大、挥发性强的试剂。若产生的这些有毒、有害气体不及时扩散,日积月累,会对实验操作者的身体健康造成严重的损害,因此,设计一种实验操作台具备通风装置是可行的。
(二)成果简介
本实用新型公开了一种实验操作台通风装置,包括基座、安装在基座顶端的实验台以及位于实验台右侧壁并固定安装在基座顶端的通风柜;所述实验台的储物腔底部安装有用于干燥储物腔内空气的吸附机构,通风柜的内腔安装有用于净化实验室内空气的空气吸附净化装置。本实用新型能够迅速实现实验台周边空气的流通置换,在空气置换的同时实现对空气的净化以提高实验台周边空气的质量,有效防止出现在实验台周边空气质量差而影响使用者顺利使用实验台进行实验的问题。
与现有技术相比,本实用新型的有益效果是:
本实用新型通过设置的吸附机构与空气吸附净化装置,改进了实验台内腔与侧壁的结构,依靠第一风扇与第二风扇,迅速实现实验台周边空气的流通置换,在空气置换的同时实现对空气的净化以提高实验台周边空气的质量,在吸附机构的作用下,能够对实验台周边空气起到干燥除味的效果,吸附空气中的水分,减少空气所含的异味,同时在空气吸附净化装置的净化作用下,迅速净化实验台周边的空气,降低空气中悬浮颗粒的含量,减少空气中所含有的异味,以此来提高实验台周边的空气质量,有效防止在使用实验台进行实验时,周边空气质量差而影响使用者进行实验。
(三)附图
上图为本实用新型的结构示意图。
项目三:土壤取样器
成果基本信息 | 成果名称 | 土壤取样器 |
成果权利人 | 贵州省水稻研究所 | |
发明人 | 张上都 | 蒙秋伊 | 彭菊 | 伍祥 | 蒙秀菲 | 周乐良 | 石邦志 | 陈文强 | |
国民经济分类 | 环境监测专用仪器仪表制造 | |
交易方式 | 面议 |
(一)背景技术
土壤取样是从事土壤和生态研究科技工作的重要基础性工作之一,而土壤取样器则是测土配方施肥、土壤监测和耕地地力调查与质量评价项目中土壤采样的专用工具。
目前,市场上通用的取样器主要包括用于硬土取样的T型取样器和用于浠泥取样的一字型取样器。其中,T型取样器使用时,需要将取样器垂直向下,双手握着手柄来回旋转,同时下压,为保持土壤的自然状况,下压力要均匀,力度要视土壤的抗剪强度而定,到后将取样器提出,出口(有柄的那端)对着样品代入口,用食指在入土端按下,土样滑出;当土壤过于干燥时,在旋转时可能有细土粒塞住取样器,对出样不顺,需要用胶锤敲击方可出样;如土壤过粘,会粘在取样器内。
一字型取样器使用时,需先将推杆抽到适当位置(一般150—5000px),垂直插入泥中,到位后来回旋,使取样器内充满土壤(泥)后向上提出,然后对准样品袋子,用推杆将样品推出。
不论是上述哪种取样器,均存在以下不足:
1.采样时都需要人工手动保证插入的垂直度,人工误差大,导致垂直度偏差大,无法保持土壤层次的自然状况。
2.出样时只靠土样的重力滑出,在取样筒内壁的粘贴阻力作用下,土样中心受重力下降速度快于边缘位置处,土壤出样层次容易发生断裂或错层,无法呈现最原始的自然状况,而取样筒内壁上的附着的土样也无法排出。
(二)成果简介
本实用新型公开了一种土壤取样器,包括手柄和取样筒,所述手柄垂直安装在一导向架顶部,所述取样筒可上下滑动的套装在导向架内,在所述取样筒内可上下滑动的套装有一推样杆,在推样杆的侧壁上设有若干与取样筒内壁贴合的刮条。本实用新型将导向架垂直放置土壤上,利用导向架保证取样筒上下滑动时与水平面之间动态时的垂直度,由双重定位结构代替人工手动定位,取样过程不受人工误差的影响,垂直度偏差小,可有效保证取样时的土壤层次的自然状况;由推样杆推动出样代替自我重力出样,加快了土壤整体出样的速度,降低了土样中心与边缘位置处的脱离速率;利用推样杆上的刮条推出取样筒内壁上粘着的土样,保证了土样中心与边缘位置处的受力均匀性。
与现有技术相比,本实用新型具有以下优点:
1.将导向架垂直放置土壤上,保证导向架与水平面之间静态时的垂直度,利用导向架保证取样筒上下滑动时与水平面之间动态时的垂直度,由双重定位结构代替人工手动定位,取样过程不受人工误差的影响,垂直度偏差小,可有效保证取样时的土壤层次的自然状况。
2.由推样杆推动出样代替自我重力出样,加快了土壤整体出样的速度,降低了土样中心与边缘位置处的脱离速率;利用推样杆上的刮条推出取样筒内壁上粘着的土样,保证了土样中心与边缘位置处的受力均匀性,不但便于附着的土样的排出,还可有效避免土壤出样时层次发生断裂或错层的情况,确保土样呈现最原始的自然状况。
(三)附图
上图为本实用新型的结构示意图;
项目四:分隔孵育自封袋
成果基本信息 | 成果名称 | 分隔孵育自封袋 |
成果权利人 | 贵州省中国科学院天然产物化学重点实验室 | |
发明人 | 李娇 | 孙黔云 | |
国民经济分类 | 农林牧渔专用仪器仪表制造 | |
交易方式 | 面议 |
(一)背景技术
随着时代的进步,科学技术不断在发展,科研人员队伍也不断壮大,对科研技术的要求不断提高和进步。在分子生物学中,很多实验需要对样品进行恒温孵育工作,特别是蛋白质印迹实验(Western blotting)中,样品的孵育步骤最多,要求也是最严格的。
蛋白质印迹是分子生物学、生物化学和免疫遗传学中常用的一种实验方法,其基本原理是通过特异性抗体对凝胶电泳处理过的细胞或生物组织样品进行着色,通过分析着色的位置和着色深度获得特定蛋白质在所分析的细胞或组织中表达情况的信息。主要包括电泳、转膜、封闭、一抗孵育和二抗孵育五个步骤,其中最后三个步骤都涉及孵育过程,且最后两个步骤对实验条件和环境的要求更为严格。目前,该方法已成为一种常规的技术,广泛应用于基因在蛋白水平的表达研究、抗体活性检测和疾病早期诊断等多个方面。在该实验过程中,一抗具有特异性,是能和非抗体特异性抗原特异性结合的蛋白,正是一抗的特异性,要求孵育过程中必须单独平铺所要孵育的PVDF膜。特别是对多张 PVDF膜进行同一一抗孵育的时候,每张膜必须单独分开,否则叠在一起的多张膜就会产生相互交叉反应,导致最后显示结果出现条带缺失、叠加或移位而使实验失败。
到目前为止,还没有一种更加方便、多效、节能且使用效果好的孵育装置可以解决这个问题,因此,设计一种分隔孵育自封装置就显得尤为重要。
(二)成果简介
本实用新型公开了一种分隔孵育自封袋。包括自封袋,自封袋由两片对称的袋体组成,两片袋体左右两边形成密封边,上下两边用自封条密封,自封条为连接在两片袋体的凹凸扣;两片袋体中间设有若干片分隔条,分隔条为水平条和竖直条,水平条设有一条,且长度与袋体宽度相等,竖直条为平行设置的多条,且与水平条垂直相交,竖直条的长度小于或者等于袋体的高度,当竖直条的长度等于袋体的高度时,袋体被分为若干个独立不相连的空间;当竖直条的长度小于袋体的高度时,竖直条的上方设有贯通的缺口,形成相通而独立的空间,可用于同一抗体对多张膜的孵育,能够防止因震荡而发生膜重叠导致条带交叉的现象。袋体上都设有口袋式标签盒。本实用新型提高了实验效率和抗体液利用率,使用方便,减小实验误差,保证了实验中时间、温度的一致。
与现有技术相比,本实用新型的有益效果是:
本实用新型的有益效果如下:
1.自封袋内部被分成了不同数目的格子,且袋体的大小和形状并不固定,可根据不同PVDF膜的大小需要,提供不同规格的分隔孵育自封袋,分隔的数目也可以根据膜的数量进行调整,独立分隔和相通分隔可根据具体实验需要调整,透明与否也根据不同需要进行选择,能适应不同的实验要求。
2.自封条为固定连接在两片袋体上下边缘的凹凸扣,凹凸相扣可牢固密封袋口,防止震荡时液体流出,同时也能防止袋内抗体液受热蒸发,保证抗体的浓度和体积。
3.竖直的分隔条长短不固定,小于或等于袋体长度,可根据需要灵活设置,分隔条等于袋体长度时,袋体被分为若干个独立不相连的空间,分隔条小于袋体长度时,分隔条上方有左右方向贯通的缺口,可实现分隔的袋体间导通,形成相通而独立的空间,能够满足同一实验条件下不同抗体液孵育PVDF膜和不同膜被同一抗体孵育的要求,保证实验条件的一致性,减少实验误差。
4.分隔条分为水平条和竖直条,水平条只有一条,且长度与袋体宽度相等,两端和袋体固定;竖直条相互之间平行,且与水平条垂直相交,分隔条把袋体分成以水平条为对称轴的方形分隔空间,避免了条带的交错。
5.自封袋在加入抗体液后,封口前轻轻挤压两面袋体,赶出气泡,保证PVDF膜充分接触抗体孵育液,使实验结果更加真实可靠。
6.每个分隔袋体上设有标签盒,放置不同的标签,保证在多样本的孵育过程中便于区别每个样品,避免弄混。
7.自封袋采用软塑料制品,具有厚度薄,占地小,传热快的功效,保证有多种待测样品时,各相对独立的孵育空间能够均匀受热,保证各温度的一致性。
8.实验完成后,只需取出PVDF膜,密封后保存于冰箱中待下次继续使用,节约了抗体液,提高了抗体液的利用率,节约了实验成本,减少了传统孵育盒清洗的步骤。
9.实验过程采用全程密封进行,减少了抗体稀释液与空气的接触面积,保证抗体稀释液不易挥发,实验过程不易受到外界条件的干预,大大提高了实验效率和准确性。
10.袋体透明和全黑不透光材质,既能满足需要光照孵育一抗的需求,也能满足避光孵育二抗的需求,实现了一袋多抗的实验目的。
(三)附图

上图为本实用新型为全透明材质自封袋的结构示意图;
项目五:一种C3转化酶功能检测试剂盒
成果基本信息 | 成果名称 | 一种C3转化酶功能检测试剂盒 |
成果权利人 | 贵州省中国科学院天然产物化学重点实验室(贵州医科大学天然产物化学重点实验室) | |
发明人 | 孙黔云 | 李敏 | 鲍娟 | |
国民经济分类 | 制药专用设备制造 | |
交易方式 | 面议 |
(一)背景技术
补体是存在于正常人和脊椎动物的血清和组织液中的一组具有酶原活性的蛋白质,包括30余种可溶性蛋白质分子组成的复杂调控系统。补体是免疫系统的重要组成部分,在天然防御和免疫调控中具有重要的功能。补体功能检测的实验要求较高,步骤较复杂,目前临床检验已基本不开展此类检测,而只开展补体相关成分含量的检测。但由于补体成分含量和补体活性之间并无显著性的相关关系,因此,含量测定和活性测定并不能相互取代。
补体的激活分为经典途径、旁路途径和凝集素途径。其中,补体经典途径C3转化酶能否正常生成以及功能是否正常,是衡量补体经典途径生理功能是否正常的重要指标。而补体经典途径C3转化酶功能的检测较为复杂,一般情况下,非专业实验室或非专业检测人员无法开展此项检测。本发明针对目前临床检测和科研中缺乏补体经典途径C3转化酶形成及其功能检测试剂盒的现状,旨在提供一种可方便地进行补体经典途径C3转化酶功能检测的试剂盒。
(二)成果简介
本实用新型涉及试剂盒技术领域,尤其是一种C3转化酶功能检测试剂盒。包括盒体、上盖,盒体与上盖间设有易撕线,盒体上表面设有多个反应管槽,反应管槽内设置有反应管孔;盒体两相对侧壁分别凹陷设有第一侧腔和第二侧腔,第一侧腔和第二侧腔内分别设有第一试剂台和第二试剂台,试剂台一端与对应侧腔连接,连接方式为销轴连接;试剂台上表面设有多个试剂孔;反应管槽内水平放置有反应管,试剂孔内放置有试剂瓶组。本实用新型操作便捷,检测结果准确,同时反应管放置稳定,使用时无需挪动试剂瓶,避免检测过程中发生被打翻,安全可靠。
本实用新型的有益效果是:
1.本实用新型在盒体与上盖间设有易撕线,使用者通过易撕线的设置很容易就能将包装打开;
2.本实用新型在第一侧腔和第二侧腔内分别设有可绕销轴旋转的第一试剂台和第二试剂台,使用时只需将试剂台旋转出侧腔并用定位杆固定,而无需移动试剂瓶组,旋进时节约了试剂盒的包装运输空间,旋出打开时方便使用;
3.本实用新型在侧腔底面设有多个定位孔,以方便使用者根据需求设置试剂台的位置进而确定试剂瓶组的摆放位置;
4.本实用新型设置有反应管槽和反应管孔,在包装运输及未使用时,反应管水平放置在反应管槽中,当打开包装需要使用时,将反应管从反应管槽中取出并竖直插入反应管孔,且本实用新型将试剂台横截面为刀柄型,刀柄处上方空间为反应管孔位置,因而不会因为反应管孔及反应管的插入而影响试剂台的旋进旋出;
5.本实用新型在反应管孔、试剂孔以及反应管槽内设有软垫层,该设置有效防止运输中试剂瓶及反应管的损伤,以及在使用时避免试剂瓶与固定座之间发生碰撞损坏,软固定,安全可靠;
(三)附图

上图为一种C3转化酶功能检测试剂盒的外型示意图;
特别声明
1.本公告仅对成果进行推介,接受意向方咨询与洽谈,以上介绍中的内容仅供参考。
2.贵州阳光产权交易所通过自身网站及相关媒体发布的项目信息并不构成贵州阳光产权交易所对任何项目的任何交易建议。意向方应不依赖于已披露的上述信息并自行对项目的相关情况进行必要的尽职调查和充分了解。
赵经理 15085914974
